CAN Interface
The physical interface of CAN interface is according to ISO 11898 and CAN 2.0B protocol
The downloading of the PLCopen application can only be done via CAN1
All interfaces support bit rates 50, 125, 250, 500, 800, 1000 kbit/s
ISOBUS bit rate is 250 kbit/s
CAN1 and CAN2 are CANopen compatible and user programmable
For safety related communication, CANopen Safety protocol is available for CAN1 and CAN2
CANopen and SAE J1939 are available for both CANs. ISOBUS sample point is supported in CAN2
11-bit and 29-bit message receive and transmit are supported.
Transmitting and receiving remote frames is supported in all CAN interfaces
CAN Bus Connection Pins
The CAN communication pins are connected in the control unit’s AMP35 connector as follows:
Designation |
Pin number |
CAN1 interface, system interface, user programmable communication
|
X1.5 (CAN H) X1.17 (CAN L) |
CAN2 interface, user programmable communication |
X1.4 (CAN H) X1.16 (CAN L)
|
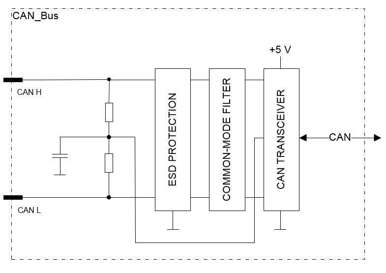
Functional block diagram
